用如图所示的实验电路来“探究——影响电阻大小的因素”,电路中a、b、c、d是四种不同的金属丝。现有几根镍铬合金丝和康铜合金丝,其规格如上表所示。为了便于探究和分析,实验中要利用控制变量法,要求都相对金属丝a 进行比较,因此电路图中金属丝a 应选上表中的 ▲ (用编号表示),b、c、d 应分别选上表中的 ▲ (用编号表示)。
编号 | 材料 | 长度(m) | 横截面积(mm2) |
① | 镍铬合金 | 0.8 | 0.8 |
② | 镍铬合金 | 0.5 | 0.5 |
③ | 镍铬合金 | 0.3 | 0.5 |
④ | 镍铬合金 | 0.3 | 1.0 |
⑤ | 康铜合金 | 0.3 | 0.5 |
⑥ | 康铜合金 | 0.8 | 0.8 |

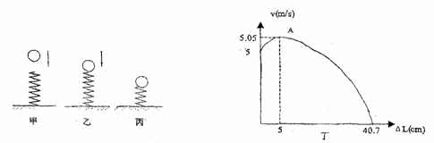
小球从高处下落到竖直放置的弹簧上(如图甲,弹簧质量可不计),在刚接触弹簧的瞬间(如图乙),速度为5m/s.在弹簧被压缩(如图丙)的整个过程中,小球的速度
和弹簧缩短的长度△L之间的关系如图丁所示,其中A为曲线的最高点.已知该弹簧每受到0.2N的压力就缩短1cm,并且弹簧的形变始终是弹性形变.
(1)在小球刚开始撞击弹簧到弹簧被压缩到最短的过程中,小球的速度变化情况是_____▲__________,发生形变的弹簧因此而具有_____▲_____能.
(2)小球在速度最大时受到的弹力与重力是一对___▲______,小球受到的重力为_____▲__N(不考虑空气阻力).
(3)弹簧的最大压缩量是_____▲______m,这时的小球所受弹簧弹力是____▲_______N.

按照题目要求作图。
(1)在图1中根据给出的入射光线AO画出反射光线OB。
(2)在图2中画出沿表面粗糙的斜面上滑的物体A所受的重力和摩擦力的示意图。
(3)在图3中,标出通电螺线管磁感线的方向和小磁针的N、S极。
![]() |
如图所示甲中竖直放置在水平地面上的石柱,高为0.2m,横截面积为0.1m2,质量为200kg(g取10N/kg)。求:
(1)石柱对水平地面的压强;
(2)某工地用图乙所示的起重机将该石柱匀速提升2m,用了5S的时间,所用拉力F为1000N。求拉力F的功率。
(3)该滑轮组的机械效率。

小明家有一电热水壶,铭牌如下表所示。求:
(1)电热水壶正常工作时的电阻是多少?
(2)壶中装有质量为lkg,温度为20℃的水,l标准大气压下,将壶中水加热 至沸腾,水需要吸收的热量是多少?[c水=4.2×103J/(kg·℃)]
(3)当电热水壶接入电路中且正常工作时,她家标有 “3000r/kW·h的电能表在1min内转了60r,请你通过计算说明婷婷家是否还有其它用电器在同时工作?
